用户态线程同步
前置芝士:C++ 原子。
在高性能场景,一般会用 OpenMP 来实现多线程功能。如果,我们想要做的更加极致,还有没有优化空间?
答案是肯定的。
为了降低难度,本文不讲内存模型,也不讲 OpenMP。
# 1. 线程同步
有时,线程 B 的任务完成后,线程 A 的任务才能开始。所谓线程同步,就是线程 A 等待线程 B 的这个过程。

上图中,箭头表示事件发生的先后顺序。
线程更多时,问题可扩展为线程 A 等待线程 B,C,D,...,或者线程 B,C,D,... 等待线程 A。本文将这两种情况称为一等多和多等一。如下图:

多等一,可以用来作为单线程转变为多线程的过程,而多等一则相反。
显然,还有多等多的情况,这个在下文讲。
# 1.1. 一等多
既然标题是用户态,那自然是用原子实现,这里有两个实现。
一个是用 8 个(假设有 8 个线程)原子变量来表示每个线程的状态,让线程 0 不断读其他线程的状态,从而达到阻塞的目的。
另一个是非 0 线程都原子加 (atomic add) 到一个变量上,线程 0 不断检查这个变量是否等于 7。
这里只用第一个方式,具体哪个快我也不知道。
#include <chrono>
#include <iostream>
#include <thread>
const int64_t N_THREADS = 8;
struct alignas(128) SyncWorkspace {
std::atomic<uint64_t> state;
};
SyncWorkspace workspace[N_THREADS] = {};
std::thread threads[N_THREADS];
void sync_1w7(int64_t thread_id) {
if (thread_id != 0) {
// 非 0 线程等 2 秒再打印线程编号,然后线程同步
std::this_thread::sleep_for(std::chrono::seconds(2));
std::cout << std::to_string(thread_id) + "\n";
workspace[thread_id].state.store(1);
}
if (thread_id == 0) {
// 线程 0 先线程同步再打印线程编号
for (int64_t i = 1; i < N_THREADS; i++) {
while (workspace[i].state.load() != 1);
}
std::cout << std::to_string(thread_id) + "\n";
}
}
int main() {
for (int64_t i = 0; i < N_THREADS; i++) {
threads[i] = std::thread(sync_1w7, i);
}
for (int64_t i = 0; i < N_THREADS; i++) {
threads[i].join();
}
return 0;
}
有几个注意点:
thread_id在这里不是操作系统的线程 id,只是从 0 开始的编号。- 为了避免伪共享 (false sharing),原子变量应以两倍 cacheline 对齐(128 字节对齐),体现在代码里是
alignas(128)。伪共享是什么就不细嗦了。 - 本文不讲内存模型,所以用默认也是最强的内存模型 seq_cst。当然也可以用 acquire、release,懂的自然都懂,不懂的也不用管,只要知道线程同步用原子就对了。
# 1.2. 多等一
多等一也有两个实现。
一个是 1 个原子变量表示线程 0 的状态,非 0 线程检查这个变量。
另一个是用 8 个原子变量都表示线程 0 的状态,非 0 线程不断检查各自的原子变量。
同理,这里只用第一个方式,具体哪个快我也不知道。
void sync_7w1(int64_t thread_id) {
if (thread_id == 0) {
// 线程 0 等 2 秒再打印线程编号,然后线程同步
std::this_thread::sleep_for(std::chrono::seconds(2));
std::cout << std::to_string(thread_id) + "\n";
workspace[thread_id].state.store(1);
}
if (thread_id != 0) {
// 非 0 线程先线程同步再打印线程编号
while (workspace[0].state.load() != 1);
std::cout << std::to_string(thread_id) + "\n";
}
}
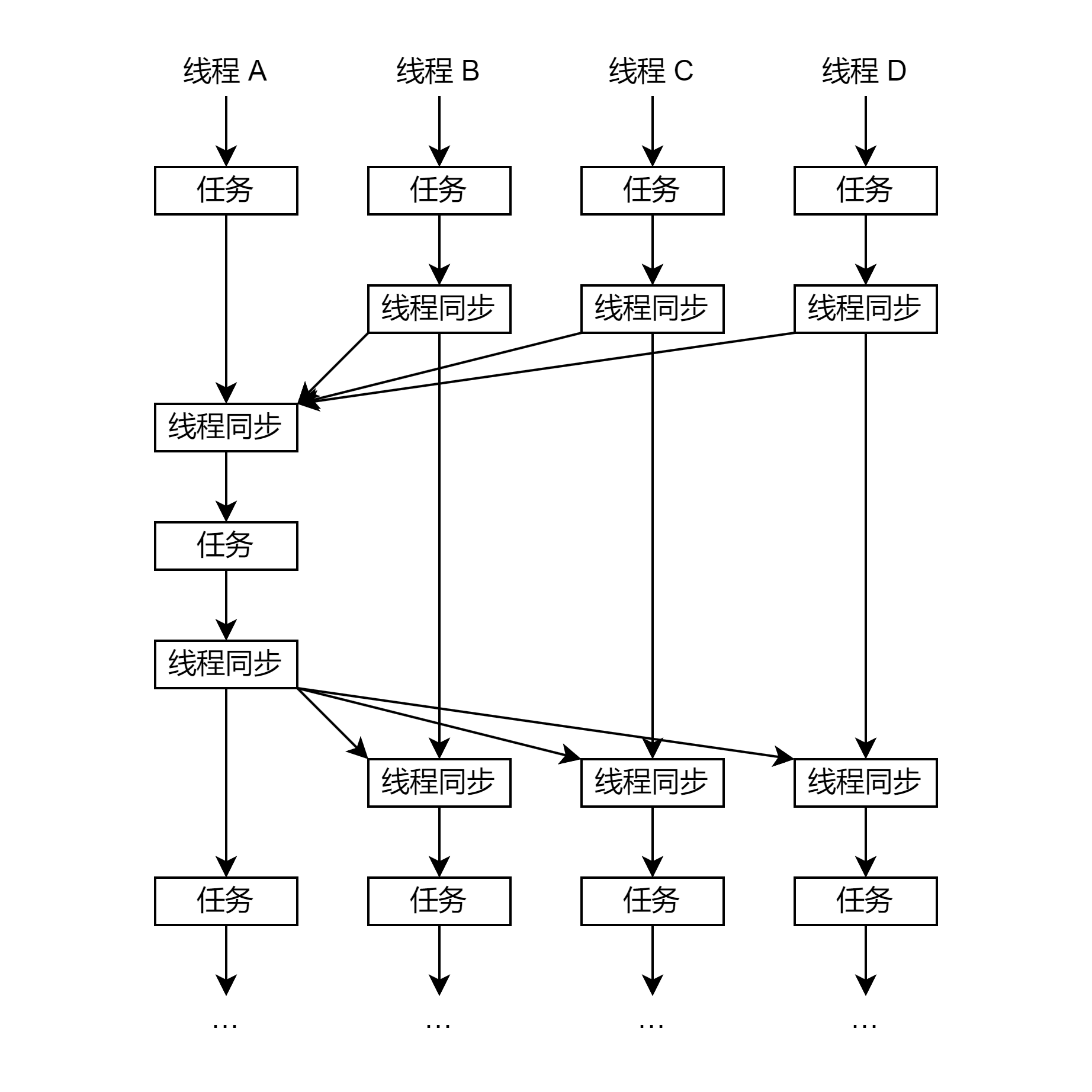
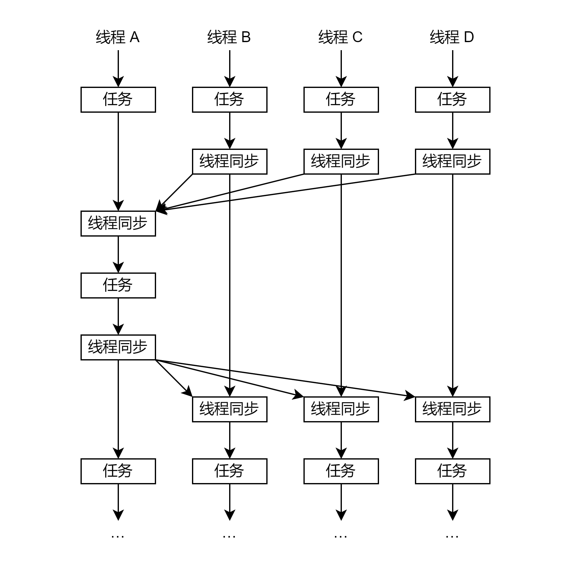
# 1.3. 多等多
在实践上,多等多一般用一等多 + 多等一来实现。如下图:

(注意看,线程 0 可以在中间插个单线程的任务)
除此之外还有亿些实现:
- 多等一 + 一等多(把顺序换一下),缺点就是线程 0 不能在中间插个单线程的任务。
- 用 N 个原子变量表示每个线程的状态,每个线程又检查其他所有线程。怎么感觉有点集合通讯内味了。
同理,我还是不知道什么更快。(为什么我又不知道哪个更快?因为这和平台有关)
# 2. 性能如何
非原子的实现会让不干活的线程进入阻塞状态,想要唤醒自然会慢一点。原子线程同步大部分情况可以认为是最快的,除非硬件针对线程同步提供了专门的指令(比如 GPU)。
估计耗时是几个微秒。
# 3. 那么代价是什么
占 CPU。
# 4. 例 向量归一化
向量归一化 (normalization),就是把向量除以它的长度,从而得到这个方向的单位向量。公式为 。
我们很自然可以想到,多线程每个线程处理一部分数的平方和;然后单线程计算 len = 所有线程的结果加起来再开方;最后所有线程计算一部分数除以 len。
这个处理过程就是多线程 -> 单线程 -> 多线程的处理逻辑,套用一等多 + 多等一来实现即可。如下图:
